Съдържание: Премахване ⇩ Монтиране ⇩
Премахване
1. Отстранете винта, закрепващ рамката на дръжката на вратата.
2. Отстранете рамката.
3. Отстранете държача на вътрешния бутон за заключване.
4. Отстранете скобата и копчето на регулатора на прозореца на вратата.
5. Освободете капаците и отстранете 2-та винта, закрепващи дръжката на вратата към вратата.

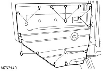
6. Внимателно освободете 12-те щипки, закрепващи облицовката към вратата, и отстранете облицовката на вратата.

Монтиране
1. Поставете облицовката на вратата и я закрепете със скоби.
Оригиналният източник на статията е уебсайтът LRMAN.RU
2. Монтирайте дръжката на регулатора на прозореца на вратата.
3. Поставете рамката на дръжката на вратата и затегнете винта.
4. Поставете държача на бутона за заключване на вратата.
5. Поставете дръжката на вратата и я закрепете с винтове.
Коментари към тази статия