Специален инструмент(и)
![]() | Монтажна скоба, двигател/диференциал 205-329 |
![]() | Ударен теглич 100-012 |
![]() | Теглич за уплътнение 308-615 |
![]() | Инструмент за сваляне/монтиране на задно уплътнение. 303-538 |
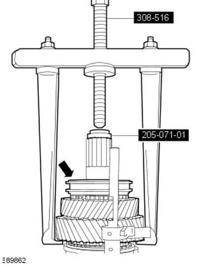
![]() | Теглич 308-516 |
![]() | Инструмент за монтаж 205-081A |
![]() | Плъзгач теглич 308-652 |
![]() | Устройство за отстраняване на семеринг на селекторен вал 308-621 |
![]() | Адаптер за ударно теглене 100-012-01 |
![]() | Уплътнител за премахване (вход и изход) 308-375 |
![]() | Теглич, стопер 308-657 |
![]() | Преходник за 205-071 (упорна плоча) 205-071-01 |
![]() | Инструмент за монтаж, двойно уплътнение на задвижващ вал 308-150 |
![]() | Инструмент за инсталиране, втулка/уплътнение на корпуса на трансмисионната конзола 308-044 |
![]() | Теглич, лагер/зъбно колело 205-310 |
![]() | Инструмент за монтаж, лагер на диференциала 205-082 |
![]() | Издърпвач, външен пръстен на лагер на междинен вал 100-012-06 |
![]() | Адаптер за ударно теглене 100-012-05 |
![]() | Заключващо устройство, изходен фланец 308-701 |
Разглобяване
ЗАБЕЛЕЖКА: Преди да премахнете компонентите на трансмисията, маркирайте техните позиции.
1. Изключете заземяващия проводник от батерията.
За повече информация вижте глава: Изключване и свързване на батерията (414-01 Батерия, монтаж на батерията и кабели, общи процедури).
2.
ПРЕДУПРЕЖДЕНИЕ: Не извършвайте работа по автомобила, докато е поддържан само от един крик. Винаги поддържайте колата със специални стойки.
Повдигнете колата и поставете опори под нея.
3. Източете трансмисионното масло.
За повече информация вижте главата: Източване на трансмисионна течност от трансмисията и добавяне на трансмисионна течност към трансмисията (308-03 Ръчна трансмисия/Трансмисия със задвижваща ос, Общи процедури).
4. Извадете скоростната кутия в блока с задвижващата ос.
За повече информация вижте глава: Скоростна кутия (308-03 Ръчна трансмисия/скоростна кутия със задвижващ мост, Демонтаж).
5. С помощта на специални инструменти закрепете скоростната кутия.

6. С помощта на специални инструменти закрепете фланеца на вторичния вал. Отстранете болта.

7. С помощта на специални инструменти отстранете и изхвърлете уплътнението на входния вал.

8. Свалете задържащия пръстен на входния вал и го изхвърлете.

9. С помощта на специалния инструмент направете отвор в уплътнението на междинния вал.

10. С помощта на специални инструменти отстранете и изхвърлете уплътнението на междинния вал.

11.
ЗАБЕЛЕЖКА: Уверете се, че трансмисията е включена.
Отстранете болта на междинния вал.

12. Отстранете специалните инструменти.

13. С помощта на специални инструменти отстранете фланеца на вторичния вал.

14. С помощта на специални инструменти отстранете уплътнението на вала на предавката.

15. С помощта на специални инструменти отстранете уплътнението на вторичния вал.

16. Отстранете 3-те болта на вилицата на левия селектор.

17. Отстранете 3-те болта на десния селектор.

18. С помощта на специални инструменти отстранете 3-те стопера на селекторния вал.

19. Свалете 2-те стопера на вала за избор на скорости.

20. Отстранете 13 болта.

21. С помощта на специални инструменти отстранете корпуса на трансмисията.

22. Отстранете магнита.

23. Отстранете селектора на заден ход.

24. Отстранете селектора на 1-ва/2-ра предавка. Отстранете и изхвърлете щифта.

25. С помощта на специални инструменти отстранете 1-ва и задна предавка от изходящия вал.

26. Свалете лагера на 1-ва предавка.

27. Свалете задържащия пръстен на синхронизатора на 1-ва/2-ра предавка.

28. С помощта на специални инструменти отстранете модулите на синхронизатора на 2-ра предавка и 1-ва/2-ра предавка от изходящия вал.

29. Отстранете задържащата плоча на селекторния вал.
- Отстранете два болта.
- Отстранете двете вложки.

30. Отстранете монтажната плоча на централния лагер. Отстранете 3 болта.

31. Отстранете централните лагери.

32. Отстранете селектора на 3-та/4-та предавка от корпуса на трансмисията. Изключете селекторната вилка от вала за избор на предавка.

33.
ЗАБЕЛЕЖКА: Внимавайте да не загубите 4-те лагера на главния селекторен вал.
Премахнете селекторите.
- 1. Отстранете главния селектор.
- 2. Отстранете селектора на 5-та/6-та предавка.

34. Като използвате двама души и помощник, отстранете възлите на вала.

35. Отстранете входящия вал.

36. Свалете 2-те задържащи ленти на лагера. Отстранете 8 болта.

37. С помощта на специалния инструмент отстранете лагера на входния вал.

38. С помощта на специалния инструмент отстранете лагера на междинния вал.

39. ЗАБЕЛЕЖКА: Когато сваляте, маркирайте позициите на компонентите.
Отстранете компонентите в показания ред.
- 1. Болт за закрепване на зъбното колело за заден ход.
- 2. Закрепване на заден ходов ход.
- 3. Заден ход на междинна предавка.
- 4. Ролков лагер на междинния вал.

40. Свалете заключващата лента на вторичния вал. Отстранете 4 болта.

41. С помощта на специални инструменти отстранете лагера на вторичния вал.

42. С помощта на специалния инструмент отстранете външния пръстен на лагера на междинния вал.

43. Свалете водещия лагер на вторичния вал и синхронизатора на 5-та предавка от вторичния вал. Отстранете задържащия пръстен и го изхвърлете, тъй като вече не е необходим.

44. С помощта на специалния инструмент отстранете възела синхронизатор/главина на 6-та предавка от изходящия вал.

45. С помощта на специалния инструмент извадете 5-та предавка от междинния вал.

46. С помощта на специален инструмент извадете 6-та предавка от междинния вал.

47. Отстранете 3-та предавка от междинния вал.

48. Отстранете задържащия пръстен на синхронизатора на 3-та/4-та предавка от междинния вал.

49. С помощта на специалния инструмент отстранете 4-та предавка и синхронизатор от междинния вал.




















Коментари към тази статия