Съдържание: Премахване ⇩ Монтиране ⇩
Премахване
1. Поставете колата върху плоска хоризонтална платформа и монтирайте клиновете под задните колела.
2. Преместете колелата в позиция право напред.
3. Повдигнете автомобила и го подпрете здраво или използвайте асансьор.
4. Отстранете предното колело.
5. Разкачете амортисьора на кормилното управление от монтажната скоба на свързващия прът към лоста на секторния вал.
6. Отстранете шплинта и развийте коронната гайка, закрепваща сферичната връзка на надлъжната кормилна щанга на лоста на секторния вал към лоста на кормилния вал.
7. Разкачете сферичните шарнири на релсовия прът от рамото на секторния вал с помощта на инструмент LRT-57-018.
8. Отстранете надлъжния кормилен прът на лоста на секторния вал.
9. Разхлабете болтовете на скобата.
10. Развийте сферичните шарнири и ги извадете от надлъжния кормилен прът на лоста на секторния вал.

Монтиране
1. Почистете вътрешните резби на напречната щанга на лоста на секторния вал.
2. Монтирайте нови краища на кормилния прът на лоста на секторния вал и завийте хлабаво затягащите болтове.
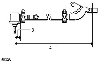
3. Регулирайте монтажния размер на сферичните шарнири на кормилния прът на лоста на секторния вал на 28,5 mm.
4. Регулирайте центъра на сферичните щифтове до номинална дължина от 924 mm. Тази дължина се регулира по време на монтажа.

5. Центрирайте кормилния механизъм.
За повече информация вижте глава: Подравняване на кормилното устройство (211-00 Кормилна система - обща информация, общи процедури).
6. Ако е необходимо, проверете позицията на волана.
(Оригиналната статия се намира на: LRman.ru)
7.
ВНИМАНИЕ: Повреден или огънат съединителен прът на секторния вал трябва да се смени. НЕ се опитвайте да ремонтирате.
Свържете кормилния прът на лоста на секторния вал към кормилните накрайници и затегнете гайките до 40 Nm. Поставете нови шпленти.
8. Уверете се, че има пълен ход на волана между крайните позиции.
За повече информация вижте глава: Регулиране на системата за заключване на волана (211-00 Кормилна система - обща информация, общи процедури).
Регулирайте по подходящ начин дължината на свързващия прът на рамото на секторния вал.
9. Завъртете сферичните шарнири в показаната посока, така че двата щифта да са в една и съща равнина.

10. Затегнете болтовете на скобата до 14 Nm.
11. Монтирайте колелото и отстранете опорите под превозното средство или извадете превозното средство от асансьора.
12. Тествайте автомобила на пътя.
13.
ПРЕДУПРЕЖДЕНИЕ: За да коригирате наклона на волана повече от ±5°, свалете и монтирайте отново волана.
Ако колелата сочат право напред и движението на волана е 0° ±5° във всяка посока, коригирайте позицията, като регулирате дължината на свързващия прът на рамото на секторния вал.
Коментари към тази статия