Съдържание: Видове връзки ⇩ Оборудване за нанасяне ⇩ Защита от корозия ⇩ Мастика за кухини ⇩ Уплътнители и лепила ⇩
Видове връзки

| Поз. | Резервен номер | Име |
| 1. | части | Между завинтени панели |
| 2. | - | Между ръбовете на болтови панели |
| 3. | - | Между панелите, свързани чрез точкова заварка |
| 4. | - | Между ръбовете на панелите, съединени чрез точкова заварка |
| 5. | - | Между залепени панели |
| 6. | - | Между ръбовете на залепени панели |
| 7. | - | Шевни фуги (тип а) |
| 8. | - | Шевни фуги (тип b) |
| 9. | - | Шевни фуги (тип c) |
| 10. | - | Пропуски между панелите (тип a) |
| 11. | - | Пропуски между панелите (тип b) |
| 12. | - | Връзка в скута |
| ИЗПОЛЗВАНЕ НА ОПИСАНИЕ | ДОСТАВЧИК | РЕЗЕРВНА ЧАСТ NO. |
| МАСТИЦИ ЗА КАРИЕС | ||
| Мастика за вътрешни кухини (прозрачен) | 3M | (08909, 08919, 08929) |
| Мастика за вътрешни кухини (жълта) | 3M | (08901, 08911, 08921) |
| Мастика за антикорозионна обработка на скрити кухини | Croda | (PW57) |
| МАСТИЦИ/ЛАКОВЕ ЗА ДВИГАТЕЛЕН ОТДЕЛ | ||
| Мастика за двигателния отсек Atrolan и козметична мастика | Astors | DA3243/1 |
| Козметична мастика/лак за двигателния отсек | Croda | PW197 |
| Козметична мастика/лак за двигателния отсек | Dinal | 4010 |
| ДРУГИ МАТЕРИАЛИ | ||
| Ремонт на еластични елементи - полипропиленови части модифицирани с гума | 3M | (05900) |
| Aerosol Auto Adhesive (trim) - залепваща мастика за декоративни части | 3M | (08080) |
| Ремонт на хидроизолация | Tereson | |
| Звукопоглъщаща пяна | Gurit Essex | Betacore 7999 |
| УПЛЪТНИТЕЛИ ЗА ФУГИ | ||
| Уплътнение на тялото - междини на панела (тип b) | 3M | 08568 |
| Drip Check Clear - уплътнява болтови съединения, точкови заварени съединения, лепилни фуги, тип (a) и (b) празнини на панела, тип (c) шевни съединения | 3M | 08401 |
| Drip Chek Heavy - междини между панели, тип (b), шевни фуги тип (c) | 3M | 08531 |
| Polyurethane Seam Sealer - уплътнител на полиуретанова основа за ръбове на панели в случай на болтови съединения, точкови заварени съединения, лепилни съединения; празнини между панели тип (a) и (b), шевове тип (c) | 3M | (08684, 08689, 08694) |
| Полиуретаново лепило Polyurethane Sealer (опаковка саше) | 3M | (08703, 08783, 08788) |
| Уплътнител за пръскане - тип 12 за припокриващи фуги | 3M | (08800, 08823) |
| Уплътнител за шевове от най-високо качество Super seam sealer - тип 12 за препокриващи фуги | 3M | (08357) |
| Weld Thru Sealer - между панели, съединени чрез точково заваряване | 3M | (08625) |
| Лак за фальцевых съединения, нанесени с четка Betafill Clinch and Brushable Sealer (черно, сиво, бяло) | Gurit Essex | 10211/15/20 |
| Лак за фальцевых съединения и покриване на дъна Clinch joint and coating underbody (сиво, бежово) | Gurit Essex | (10101. 10707) |
| Leak Check Clear - уплътнителни панели в случай на болтови връзки, ръбове на панела в случай на точково заварени връзки и лепилни връзки; тип шевни връзки (c) | Kent industries | (10075) |
| Шпакловка - междини между плоскости тип (а) и (б) | Kent industries | |
| Polyurethane Seam Sealer - уплътнител на основата на полиуретан за панели в случай на болтови връзки, ръбове на панели в случай на точкови заварени връзки и лепилни връзки; празнини между панели тип (a) и (b) | PPG | (6500) |
| Polyurethane Seam Sealer - уплътнител на основата на полиуретан за панели в случай на болтови връзки, ръбове на панели в случай на точкови заварени връзки и лепилни връзки; празнини между панели тип (a) и (b) | Teroson | 92 |
| Terolan Light seam sealer - уплътнител за шевове за ръбове на панели в случай на болтови съединения, точкови заварени фуги, лепилни фуги; празнини между панели тип (a) и (b); между залепени плоскости; за шевни връзки тип (c) | Teroson | |
| Специален уплътнител за фуги, нанесени с четка Terosan Special Brushable Шев sealer - нахлесточные съединение 12 | Teroson | |
| Аерозолен уплътнител за шевове Terostat Разпръскващ уплътнител за шевове - уплътнител за ръбове на панели в случай на болтови, точково заварени и лепилни съединения; празнини между панели тип (a) и (b) | Teroson | 9320 |
| Еднокомпонентен полиуретанов уплътнител за фуги Terostat 1K PU seam sealer (SE20) - за пролуки между панели тип (a) и (b); за ръбове на панели в случай на точкови заварки и лепилни съединения | Teroson | |
| Уплътнителен съставката Sealing Compound - за ръбовете на панелите в случай на болтови съединения, връзки, за извършената хлътва, заварени, и лепилни връзки; празнини между панели тип (b) | Wurths | 8901001/-/6 |
| СТРОИТЕЛНИ ЛЕПИЛА | ||
| Автомобилно структурно лепило - за запечатване на лепилни фуги на панели, типове 5 и 7 | 3M | 08122 |
| Two Part Structural Epoxy (двукомпонентна епоксидна смола) - за лепилни съединения на панели и съединения на панели, направени чрез точкова заварка, за шевни съединения тип (а) | Ciba Geigy | XB5106/7 |
| ДЪЛНИ УПЛЪТНИТЕЛИ | ||
| Body Schutz | 3M | 08861 |
| Аерозолен уплътнител Spray Schutz | 3M | 08877 |
| Нанесени с четка лепило Crodapol Brushable Sealer | Croda | PV75 |
| Terotex Underseal (CP02) (за дъното) | Terosan | 9320 |
| МАСТИКИ ЗА ДЪНО | ||
| Покритие за защита от удар камъни (гладка) | 3M | 08158/9 |
| Вакса под каросерията | Croda | PW61 |
| Вакса под каросерията | Dinol | Tectacote 205 |
| ГРУНД ЗА ЗАВАРКИ | ||
| Покритие за заварки Weld thru coating | 3M | 05913 |
| Цинк Цинк спрей спрей | 3M | 09113 |
| Земята, обогатен с цинк, богати на Цинк грунд | ICI | P-565 634 |
Оборудване за нанасяне
Пистолет SATA Schutz Gun Model UBE
| Спецификации | |
| Въздушен поток | 200 l/min при 45 psi |
| Тегло | 660 гр |
Пистолетът Sata Schutz е одобрен за нанасяне на защитни покрития върху дъното на превозни средства, доставя се в специални 1-литрови контейнери за еднократна употреба. Повечето пакети тип Schutz са оборудвани с фитинг с резба (покритие на пистолет).
ЗАБЕЛЕЖКА: Не забравяйте да почистите пистолета след употреба с подходящ разтворител.
Към оборудването са включени пълни инструкции за работа.
Оборудване за инжектиране на мастика Sata HKD1 Wax Injection Equipment
Оборудването Sata HKD1 е одобрено от Land Rover за използване с мастика за кухини. Оборудването включва висококачествен кован пистолет с 1L контейнер за подаване под налягане, гъвкав найлонов връх, 1100 mm прав стоманен връх и леко извит връх. Съединителят за бързо освобождаване, който е стандартно оборудване, позволява лесна смяна на накрайниците. Всеки накрайник има свои собствени характеристики на "разпръскване", за да се адаптира към конкретния тип кутия, която се обработва.
Оборудването Sata HKD1 е с 12 месеца гаранция. Всички резервни части и услуги се осигуряват от доставчици.
Оборудване Cooper Pegler Falcon Junior Pneumatic (Airless)
Пневматичната пръскачка Falcon Junior, предназначена предимно за нанасяне на мастика при транспортиране, има 5-литров контейнер и вградена ръчна помпа. Този висококачествен уред осигурява лесен и ефективен начин за пръскане на мастика без необходимост от външен източник на сгъстен въздух или друго допълнително оборудване.
Широка гама от накрайници, дюзи и маркучи, заедно със задействащ клапан с вграден филтър, гарантират, че пръскачката може да се използва в много специфични приложения. Те включват обща поддръжка, инжектиране на мастика и нанасяне на боя. Всички елементи са напълно сменяеми и осигуряват широка гама от конфигурации на върха.
Техниката Falcon Junior е оборудвана с уплътнения Viton и е с 12 месеца гаранция.
Оборудване Оборудване за нанасяне на 3M
Цялото оборудване на 3M може да бъде закупено от вашия местен дилър или дилър на оборудване за покритие на 3M.
Пистолет 3M Caulking Gun 08002
Лек, твърд, с метална рамка, пистолетът е предназначен за 325 mm патрон за нанасяне на уплътнители и др. Този пистолет улеснява бързото инсталиране на патрона и разполага с лост за бързо освобождаване за прецизен контрол на изхода за дозиране и прекъсване на подаването.
Въздушен пистолет 3M Pneumatic Cartridge Gun 08012
Пневматичен пистолет, захранван от въздушна магистрала за отпечатване на материали в картриджной опаковка 3M. Превъзходна лекота на нанасяне на равномерен валяк мерки и теглилки. Включва регулатор за допълнително управление.
Други опции за оборудване за нанасяне на материали 3M:
Въздушни оръжия 3M
Пистолет с въздушна линия за нанасяне на сашета с уплътнител 3M (част № 08006 за сашета от 200 ml и 310 ml и част № 08007 за всички размери на сашета, включително 600 ml).
Пистолет за апликатор 3M 08190
За нанасяне на 3M структурно лепило 08120.
3M пистолет за апликатор за восък с вътрешна кухина
Има 750 мм гъвкав маркуч и използва контейнери от един литър; това одобрено оборудване се предлага от всички търговци на 3M.
Ръчен пистолет за тежки режими на тежкотоварни Manual Gun
Апаратура и техника за прилагане на мастика за кухини

| Поз. | Резервен номер | Име |
| 1, | части | Всмукване на въздух |
| 2, | - | Контрол на потока (регулиране на формата на "струята") |
| 3, | - | Спринцовка (вместимост 1л). Максимално налягане - 9,7 bar, 9,8 kg/cm²). |
| 4, | - | Конектор за пистолет |
| 5, | - | Свързване на нипела на върха |
| 6, | - | Гъвкав накрайник |
| 7, | - | Твърд насочен извит връх (конична, обърната напред "струя") |
| 8, | - | Гъвкав найлонов накрайник 1100 мм с 360° пръскане |
| 9, | - | Твърд накрайник 1100 mm с 360° струя |
При повторна обработка на места, където е инжектиран мастик и които са били повредени по време на ремонта, е необходимо да се използва пистолет за сгъстен въздух с вградена спринцовка и комплект сменяеми накрайници.
При използване трябва да се вземат предвид следните точки в съответствие с инсталираните аксесоари:
- Когато третирате затворени зони, използвайте твърди или гъвкави накрайници, които осигуряват 360° пръскане за максимално покритие.
- Ако отворите са ограничени, използвайте извит връх, за да осигурите по-насочено "пръскане".
1100 mm Твърд връх: Дюзата на твърдия връх произвежда 360° кръгъл "спръскване" в комбинация с насочено напред "пръскане". Въпреки че мастикът се разпространява върху всички повърхности на кутийния профил с едно движение, ефективно и пълно покритие в дълги, прави структури и кутийни секции се постига най-добре чрез пръскане върху предните и обратните ходове на върха.
Твърдият връх също осигурява позиционната точност, необходима в профилите, като същевременно позволява визуална оценка.
ПРЕДУПРЕЖДЕНИЕ: Не поставяйте върха в сервизните отвори, когато използвате този аксесоар.
1100 мм гъвкав найлонов накрайник: Този накрайник има същия "спръскващ" модел като твърдия накрайник, но осигурява допълнителното проникване, необходимо за извити участъци или зони, където достъпът е труден. Основното му ограничение е липсата на позиционна точност в рамките на профилите на кутията.
Пръскането се извършва с движение на върха навън. Отстранете върха бавно, за да осигурите адекватно покритие. НЕ отстранявайте върха твърде бързо.
Дръжте найлоновата тръба на върха далеч от краищата на отвора за обработка, за да ограничите абразията и да удължите живота на тръбата. Внимавайте да спрете пръскането точно преди накрайникът да излезе от порта за достъп. За да улесните този процес, боядисайте последните 30 мм от върха с ЧЕРВЕНА боя.
Извит гъвкав накрайник: Твърдият извит връх произвежда силно пулверизиран, обърнат напред, напълно коничен "спрей" с дълъг обхват и добри дисперсионни характеристики. Тази комбинация е много подходяща за целенасочено пръскане на къси, тесни участъци и може да се използва и за директно пръскане на материал върху вътрешните повърхности на калници и др.
Поставете плоската зона в края на дюзата под ъгъл от 180° спрямо посоката на струята от дюзата. Това спомага за по-точното насочване на струята, когато е скрита в профил на кутия или в технологичен отвор.
ЗАБЕЛЕЖКА: Поддържайте цялото оборудване за инжектиране/нанасяне на мастика чисто. За почистване използвайте минерален спирт веднага след инжектирането на мастика.
Когато пръскате като цяло, движете върха в дъга от едната страна на другата, за да осигурите пълно покритие.
Предпазни мерки при ремонт на каросерия и правила за работа с автомобили
Бъдете внимателни, когато извършвате ремонтни дейности в сервиз. PVC уплътняващото покритие на долната част на каросерията, уплътнителните шевове, мастичният слой на долната част на каросерията и панелите на каросерията могат да се повредят, ако превозното средство се повдигне небрежно.
Винаги следвайте правилните процедури за повдигане, повдигане и теглене, както е показано в информационния раздел на ОБЩА ИНФОРМАЦИЯ, като обръщате особено внимание на следното:
Информация, получена от уебсайта (www.LRman.ru)
Почистване с пара и вакуумиране
Поради високите температури, генерирани от оборудването за почистване с пара, е възможно някои покрития да бъдат повредени и някои лепила и материали за защита от корозия да бъдат омекнати или втечнени.
Регулирайте оборудването така, че температурата на изхода на дюзата да не надвишава 90°C. Внимавайте да не оставите парната струя да спре в една област и дръжте дюзата на поне 300 mm разстояние от повърхностите на панелите.
Когато извършвате ремонт, НЕ отстранявайте мастика или лак от долната част на автомобила или долната част на двигателното отделение. Ако е необходимо тези зони да се почистят с пара, нанесете повторно покритие възможно най-скоро, като използвате мастика или друг материал за защита на долната част.
Защита от корозия
По-долу описваме подробно материалите, които се прилагат по време на производството за защита срещу корозия.
Фабрична обработка
По време на производството Defender се третира със следните антикорозионни материали:
- Уплътнителен материал на основата на PVC за дъното, който се напръсква върху подовата повърхност, арките на калниците и зоните на праговете.
- Мастика за кухини, която се инжектира в телесни кухини и кутийни секции.
- Краен слой мастика за дъното на каросерията за покриване на цялата подова повърхност, включително структурните елементи, но с изключение на спирачните дискове, изпускателната система и задвижващите валове.
- Слой защитен лак, нанесен върху цялото тяло.
- Слой защитен мастик, нанесен върху зоните на двигателното отделение и калниците.
ЗАБЕЛЕЖКА: Не нанасяйте мастика върху двигателното отделение на моделите Td5.
В допълнение към мерките, описани по-горе, всички стоманени елементи са галванизирани от двете страни.
Уплътнител за дъното
Повърхността на дъното и външните повърхности на праговете са обработени с PVC дънен уплътнител Plastisol. Този материал не е подходящ за повторно нанасяне.
Когато ремонтирате участъци, покрити с уплътнител за дъното, отстранете фабрично нанесения материал до подходяща точка на счупване, като се уверите, че е изложена чиста метална повърхност и ръбът на съществуващия материал е ясно залепен към панела.
ПРЕДУПРЕЖДЕНИЕ: Затворете всички компоненти на окачването, колела, гуми, задвижване, задвижващи валове, задвижващи валове, изпускателна система и спирачки. (включително всички монтажни точки) преди да нанесете нов уплътнителен материал върху дъното на автомобила.
ЗАБЕЛЕЖКА: Нанасянето на нов уплътнител за дъното трябва да се извърши между грундирането и боядисването на повърхностите. Преди да нанесете уплътнител върху дъното, зоните, където е използван уплътнител за шевове, трябва да бъдат третирани, ако е необходимо.
Преди да нанесете уплътнител върху дъното, ТРЯБВА да поставите тапи и гумени тапи в подовия панел. (с изключение на тапи, покриващи отворите за инжектиране на мастика). Повредените термоуплътняващи тапи трябва или да бъдат заменени с нови, които се монтират с помощта на топлинен пистолет, или да бъдат заменени с гумени уплътнителни тапи.
Мастика за кухини
Мастика с кухини се инжектира в някои профили с кутия. Информацията, предоставена на следващите страници, е предназначена като ръководство. Той също така показва зоните, които трябва да бъдат третирани с мастика за кухини, както и технологичните отвори, използвани в производството.
Мастика за дъното
Слой мастика за защита на дъното се нанася върху цялото дъно, от вътрешната страна на вертикалните фланци на тапицериите на дъното и покрива всички движещи се и гъвкави части с изключение на колелата и гумите, спирачките и изпускателната система. Мастикът се нанася върху защитния уплътнител на дъното и боята.
ВНИМАНИЕ: Старият уплътнител за дъното трябва да бъде напълно отстранен от зона, простираща се на поне 200 mm отвъд зоната, където трябва да се нанесе нов уплътнител за дъното.
Защитният мастик на дъното трябва да се възстанови след всички ремонти, засягащи подовите панели.
Мастика за защита на двигателното отделение
Използвайки одобрен материал, възстановете защитната мастика на двигателното отделение, която е била нарушена по време на ремонта.
Мастика за защита на калниците
Използвайки одобрен материал, възстановете защитната мастика на калниците, която е била нарушена по време на ремонта. Емайл/грунд, устойчив на удари от трошен камък
Обработете повторно всички области, защитени с фабрична почва за защита от смачкване, като използвате подходящ одобрен материал по време на ремонта.
Сервизни прегледи
Изискване на фабричната гаранция за корозия на каросерията на Land Rover е фабричното покритие на каросерията да се проверява за корозия от оторизиран дилър на Land Rover поне веднъж годишно.
Списъците на сервизните работи включват следните действия, насочени към проверка на тялото за корозия:
ЗАБЕЛЕЖКА: Преди проверка измийте автомобила и се уверете, че няма отлагания. Отговорност на собственика е да гарантира, че няма натрупване на мръсотия по превозното средство, което може да ускори ефектите от корозията. Ако клиентът донесе автомобила в сервиза в мръсно състояние, дилърът ТРЯБВА да измие автомобила преди проверка, като обърне специално внимание на труднодостъпните зони.
ЗАБЕЛЕЖКА: Описаните по-горе проверки са само визуални. Това означава, че когато проверява превозно средство за повреда на боята и корозия, операторът не трябва да отстранява декоративни панели, облицовка, износващи се ленти или звукоизолиращ материал.
Когато превозното средство е повдигнато и с помощта на тестова лампа или фенерче, проверете визуално превозното средство за следните дефекти:
ЗАБЕЛЕЖКА: Малки мехури в уплътнителя на PVC защитната плоча може да са приемливи, стига голият метал да не е изложен.
Особено внимание трябва да се обърне на всякакви признаци на повреда на панели или антикорозионен материал в резултат на неправилно монтиране на крика.
Трябва да се спазват правилните процедури за използване на крик и повдигане на превозно средство. Вижте раздела "Информация" в ОБЩА ИНФОРМАЦИЯ.
След като спуснете автомобила, огледайте го визуално за признаци на повреда и корозия във всички боядисани зони, особено в следните области:
Поправете повредата по корпуса и корозията на панела, открити по време на инспекцията, възможно най-рано, за да намалите площта на повредата и да осигурите ефективността на фабричното защитно покритие. Когато разходите за изправяне трябва да бъдат договорени със собственика, търговецът трябва да уведоми собственика и да подпише съответната документация.
Ако корозията е станала очевидна и идва отдолу на подвижния елемент. (например декоративни панели, прозоречни стъкла, седалки и др.), ако е необходимо, премахнете елемента, за да осигурите ефективно редактиране.
Ремонт на защитно покритие на дъното
Когато извършвате ремонт на каросерията, не забравяйте да възстановите напълно уплътнителя и покритието, за да осигурите защита от корозия. Това важи както за повредени участъци от каросерията, така и за места, където защитното покритие е засегнато в резултат на удар по време на авария или по време на ремонтни дейности.
Преди да изправите панела, отстранете всички материали за защита от корозия в повредената зона. Това се отнася особено за панели, покрити със защитен мастик, уплътнител на основата на PVC, шумопоглъщащи сърцевини и др.
ПРЕДУПРЕЖДЕНИЕ: НЕ използвайте кислородно-ацетиленово оборудване за отстраняване на материали за защита от корозия. Когато тези материали горят, се отделят големи количества пари и газове.
Оборудването за отстраняване на твърди антикорозионни уплътнители може да варира по скорост и ефективност. Скрепер за сгъстен въздух, (не е пневматично длето) предлага сравнително тих механичен метод за отстраняване на покритие чрез изключително бързо възвратно-постъпателно движение. Когато използвате, водете работния край на инструмента по протежение на работната повърхност.
Най-разпространеният метод е използването на пистолет за горещ въздух с вградена стъргалка.
ПРЕДУПРЕЖДЕНИЕ: Високите температури, генерирани от това оборудване, могат да причинят дим. Винаги бъдете внимателни, когато го използвате.
Друг инструмент, който отговаря на един от най-ефективните методи, е високоскоростен "горещ нож". Този инструмент използва широко острие. Позволява ви да работите бързо и е универсален.
Може лесно да се използва в профилирани участъци, които иначе са трудно достъпни.
Използвайте следната процедура, когато ремонтирате капака на дъното:
Мастика за дъното
ЗАБЕЛЕЖКА: Ако ремонтът включва нанасяне на последен слой боя в области, които изискват мастика за дъното на каросерията, боядисването трябва да се извърши преди нанасянето на мастика.
След инсталиране на механични компоненти, включително маркучи, тръбопроводи и малки фитинги, покрийте спирачните ротори и нанесете слой от одобрено покритие на защитната плоча.
Мастика за долната част на двигателния отсек
Когато ремонтът включва подмяна на панелите на двигателното отделение, третирайте цялото двигателно отделение, включително всички фитинги, скоби и малък хардуер, с одобрен лак или мастика за долната страна на двигателното отделение.
Нанасяне на антикорозионно покритие у дома
Не се препоръчва самостоятелна антикорозионна обработка, извършена от собственика в допълнение към фабричната обработка, тъй като ще анулира гаранцията за антикорозионна защита на автомобила. Това не се отнася за одобрени защитни мастики, които са съвместими и могат да се нанасят върху съществуващи покрития.
Монтаж на разрешено оборудване
Когато инсталирате допълнително оборудване, уверете се, че защитният антикорозионен слой не е повреден под формата на пукнатини или влага, навлизаща в елементите на тялото.
НЕ забивайте самонарезни винтове директно в панела на тялото, а първо монтирайте пластмасовите вложки. Когато пробивате отвори в панели, странични елементи и други части на каросерията, винаги третирайте краищата на отворите с подходящ грунд с цинк или фосфорна киселина и след това нанесете с четка уплътнител около отвора.
НЕ свързвайте небоядисани метални повърхности на какъвто и да е аксесоар директно към автомобила, освен ако не са правилно защитени. Когато свързвате метални повърхности една към друга с болтове, винаги обработвайте равнините на фугите с цинков грунд, поставете цинкова лента между повърхностите или нанесете слой от инертен материал.
Мастика за кухини
Този раздел показва кутийни профили, обработени с мастика за кухини. Ремонтите, засягащи тези зони, трябва да включват повторно третиране с одобрен мастик за кухини, като се използват показаните точки за достъп. В допълнение, вътрешните повърхности, които са били засегнати по време на ремонт, също трябва да бъдат третирани чрез въвеждане на мастика, независимо дали са били фабрично третирани или не. Списъкът включва всички кутийни елементи, кухини, вътрешни врати и др. Допуска се пробиване на допълнителни отвори, където е необходимо за достъп, но така че да не са разположени върху носещи елементи. Тези дупки трябва да бъдат обработени с подходящ грунд, обогатен с цинк, намазан с мастика и след това запечатан с гумена втулка.
Преди да инжектирате мастика, уверете се, че в кухините, които ще се третират, няма замърсявания и чужди вещества. Ако е необходимо, отстранете всички замърсявания със сгъстен въздух.
Инжектирайте мастика след нанасяне на последния слой боя.
По време на процеса на обработка се уверете, че мастикът покрива всички фланци и шевове и че е нанесен върху всички ремонтни зони както на стари, така и на новомонтирани панели.
ЗАБЕЛЕЖКА: Уплътнителят за кухини трябва да се нанася СЛЕД приключване на корекцията и ПРЕДИ инсталирането на каквито и да било декоративни елементи.
Трябва също да се отбележи, че новите панели и облицовъчните елементи на каросерията се доставят без обработка с мастика, която трябва да се извърши след ремонт.
Надеждната защита на кухините с мастик е много важна. Винаги спазвайте следните правила:
- Завършете всички операции по нанасяне на крайното бояджийско покритие, преди да нанесете мастика.
- Преди третиране почистете участъците от панелите на каросерията и, ако е необходимо, продухайте кухините.
- Поддържайте температура 18°C по време на нанасяне и съхнене.
- Проверете формата на пръскащия конус на оборудването за обработка на кухини.
- Покрийте всички зони, които трябва да бъдат покрити с мастика и които биха могли да се замърсят от излишната мастика.
- Ако има риск от замърсяване с мастик при пръскане, отстранете компоненти като прибиращи устройства за предпазни колани.
- Повдигнете стъклото на вратата докрай, преди да обработите кухините на вътрешната врата.
- Третирайте областите на тялото, които обикновено са покрити с наслагващи елементи, преди да инсталирате тези елементи.
- Почистете дренажните отвори на праговете и вратите след третиране със защитен мастик.
- Поддържайте цялото оборудване чисто, особено дюзите за пръскане.
Следващите илюстрации показват зоните за третиране и отворите за инжектиране при прилагане на мастика за кухини.
Обработват се и всички зони, симетрично противоположни на показаните.
Монтаж на преграда

Секции AA и BB показват областите на приложение на мастика за кухини. Стрелки 1 и 2 показват отвори за въвеждане на мастика.
Монтаж на колона "B/C".

Секция AA показва зоните за приложение на мастика за кухини върху стълба "B/C". Стрелка 1 показва отвора за въвеждане на мастика.
Секция BB показва областите на приложение на мастика за кухини върху колоната "D". Стрелка 2 показва отвора за въвеждане на мастика.
Входна врата

Секции AA и BB показват зоните за нанасяне на мастика за кухини на входната врата. Стрелки 1 и 2 показват отвори за въвеждане на мастика.
Задна врата

Секции AA и BB показват областите на приложение на мастика за кухини на задната врата. Стрелки 1 и 2 показват отвори за въвеждане на мастика.
Уплътнители и лепила
Структурно лепило
Лепило за метал се нанася върху критичните шевове по време на фабричното сглобяване на тялото. В този случай се използва високотемпературно нанасяне на материал на основата на нитрилфенол с термично втвърдяване. Материалът слепва две метални повърхности, като в същото време е и уплътнител, предпазващ от проникване на мръсотия, влага и газове във фугата. Този материал не е подходящ за сервизна употреба и трябва да бъде заменен с подходящо лепило със средна якост по време на ремонт.
Когато разделяте фуга, обработена с лепило за метал, за да избегнете изкривяване, се препоръчва леко да загреете фугата, докато се разхлаби достатъчно, за да позволи на панелите да се разделят.
ЗАБЕЛЕЖКА: НЕ извършвайте заваряване с инертен газ на метал (MIG) върху зона на съединение, която е била обработена с лепило за метал, докато всички следи от лепило не бъдат отстранени.
Следващите илюстрации показват областите на приложение на структурното лепило. Обработват се и всички зони, симетрично противоположни на показаните.
Панел за кръстосано затваряне

Структурно лепило, нанесено около долните странични отвори в тялото.
Уплътнители за шевове
Пластизолният топлинно втвърдяващ се PVC уплътнител се нанася върху фугите по време на фабричното сглобяване. Този материал не е подходящ за сервизна употреба.
Запечатването на шева трябва да се извърши след нанасяне на грунда и преди нанасяне на шпакловка и окончателно боядисване. Първо почистете повърхностите от грес и масло. Нанесете уплътнителя върху фугата във формата на перли, или на ръка, или с пистолет. Ако е необходимо, нанесете уплътнител във фугата и я изгладете с помощта на кърпа, навлажнена с разтворител Shell SBP3. Това ще осигури приемливо козметично покритие.
След ремонт нанесете уплътнител върху ВСИЧКИ достъпни връзки. Имайте предвид, че повредата на превозното средство често може да доведе до огъване в области на тялото далеч от точката на удара. Следователно, уплътнителните шевове в тези зони могат да бъдат повредени по време на последващи операции по изправяне и ремонт. Проверете връзките в близост до зоната за ремонт за повреда на уплътнителния шев, почистете, ако е необходимо, и нанесете отново с пресен уплътнител съгласно следната процедура:
Ако връзките не са достъпни след сглобяване или монтаж на компоненти, нанесете пастообразен уплътнител върху тези връзки. Някои шевове стават недостъпни след приключване на ремонта на панела. В такива случаи нанасянето на боя и уплътнител трябва да приключи преди окончателното сглобяване.
Ако достъпът позволява, трябва да се нанесе уплътнител върху ремонтната фуга от двете страни. Ако достъпът е ограничен само от едната страна (например в профили с кутия), инжектирайте мастика за кухини във въпросната кутия.
ПРЕДУПРЕЖДЕНИЕ: ЗАБЕЛЕЖЕТЕ да използвате аспиратор за отстраняване на токсични изпарения, когато използвате оборудване с оксиацетилен за отстраняване на панели, обработени с мастики и уплътнители.
Следващите илюстрации показват области, където ще се прилагат уплътнители за шевове.
Обработват се и всички зони, симетрично противоположни на показаните.
Уплътняване на шевове на преградния възел - изглед отпред

Уплътняване на шевове на преградния модул - изглед отзад

Уплътнител за шевове отстрани на тялото

Уплътнител за шевовете на предната врата

ЗАБЕЛЕЖКА: Уплътнител за шевове, който трябва да се изравни след нанасяне за козметични цели.
Уплътнител за шевове за задна каросерия

ВНИМАНИЕ: Внимавайте да не блокирате дренажните отвори, когато прилагате уплътнители за фуги.
Уплътнител за покривни шевове

Области на приложение на шпакловка
Следните снимки показват местата, където се нанася шпакловка. Обработват се и всички зони, симетрично противоположни на показаните.
Поставяне на шпакловка на преградата

Поставяне на шпакловка на гърба

Поставяне на шпакловка на долната част на автомобила

Разположение на шпакловка на входна врата

Области на приложение на уплътнител от пяна/каучук
Следващите илюстрации показват области за уплътнения от пяна/гума. Обработват се и всички зони, симетрично противоположни на показаните.
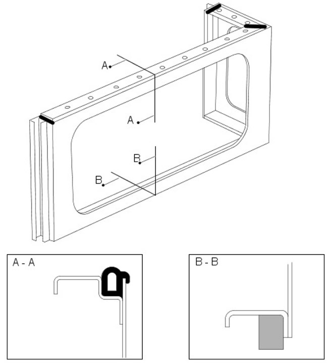
Задна странична част на тялото

Секция AA показва гуменото уплътнение в горната част на задната страна на тялото.
ВНИМАНИЕ: Уверете се, че гуменото уплътнение е позиционирано правилно в канала.
Секция BB показва уплътнението от пяна, разположено на долния ръб на горната секция на задния четвърт панел. Закрепва се към панела с двойнозалепваща лента.
Долна страна на тялото

ВНИМАНИЕ: Уплътненията трябва да бъдат монтирани преди монтажа.
Стрелките показват позицията на двете уплътнения от пяна.
Коментари към тази статия